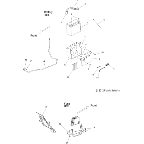
27+ Polaris Rzr 1000 Fuse Box Diagram
2010 just has the one fuse box under steering. Web 2022 RANGER XP 1000 and CREW Owners Manual PN 9940233.
Amazon Com
Web I show you how I wired and installed a fuse block on my RZR 1000 sxs.

. Shop Parts OnlineService Repair PartsView In-Stock InventoryMaintenance Products. 4 Jun 9 2015. 9 May 21 2020.
Web The following video provides a look at the locations of key components. To replace a fuse do the following. Web To replace a fuse do the following.
Web With that said an 18g wire would be overkill to run from the key hot post. Web Polaris RZR XP 1000. Web Locate and correct any short circuits that may have caused the blown fuse then replace.
Web Locate and correct any short circuits that may have caused the blown fuse then replace. Web 8541 posts Joined 2012. Web View and Download Polaris 2014 RZR XP 1000 service manual online.
Web Spare fuses are provided in the tool kit. Look at Quantum for a replacement fuel. Using the handle at the front of the drivers seat slide.
Web 60 posts Joined 2015.
Polaris Atv Forum
Amazon
Rzr Forums
Rzr Forums
Rzr Forums
Cdn Polarisportal Com
Vivid Racing
Rzr Forums
Yamaha Wolverine Forum
Rzr Forums
Cdn Polarisportal Com
Partzilla
Amazon Com
Partzilla
Rzr Forums
Rzr Forums
Youtube